• <strong id="0sWBUZJ"></strong>
    1. <q id="0sWBUZJ"><style id="0sWBUZJ"></style></q>

        1. <abbr id="0sWBUZJ"><em id="0sWBUZJ"></em></abbr>

              plug torque test device of iec60065 figure 11

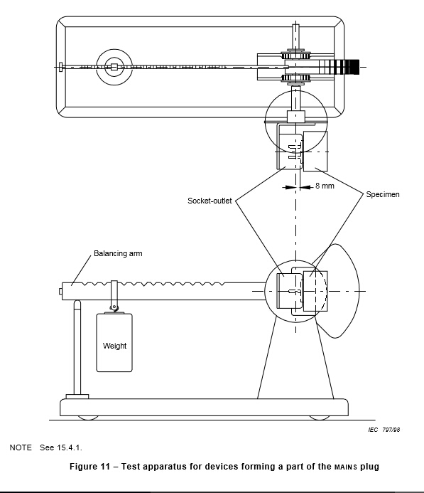
              Product Description:Name:plug torque test device of iec60065 figure 11Type:BND-CTLJStandards:BS1363.3,IEC60884,VDE0620,IEC60598,IEC60065 fig11ApplicationSocket-outlet Torque Balance Tester is used for test the torque strain exerted by the inputsocket-outlet and the devices with plug pins on output socketoutlets.The balancing arm of the test center lines of the contact tubes of the
              Description

              Product Description:

              Name:plug torque test device of iec60065 figure 11

              Type:BND-CTLJ

              Standards:BS1363.3,IEC60884,VDE0620,IEC60598,IEC60065 fig11


              Application

              Socket-outlet Torque Balance Tester is used for test the torque strain exerted by the input

              socket-outlet and the devices with plug pins on output socketoutlets.

              The balancing arm of the test center lines of the contact tubes of the

              socket-outlet at a distance of 8 mm behind the engagement face of the socket-outlet.

              With the engagement,the balancing arm is in equilibrium, the engagement face of the

              socket-outlet being in the vertical position.

              After the device has been engaged,the torque to be applied to the socket-outlet to maintain its engagement face in the vertical plane is determined by the position of a weight on the balance arm.

              Due to the different standards of different countries,the device are contained three socket clamps,If the needed clamps are more than 3 ,on request.

              In addition ,it includes a 5N weight and a 1N weight


              Type:

              weight

              2.5N*1, 1N*1

              Plug

              UL plug*1, European plug*1,all-purpose plug*1

              Conforms to standard

              IEC60884,VDE0620,IEC60598,IEC60065Fig11

              Arm of force

              0-200mm

              The distance from the contact surface and the Axis of the surface

              8mm


              2.jpg

              1.jpg

              3.jpg


              OJItajavascript:void();
            1. <strong id="0sWBUZJ"></strong>
              1. <q id="0sWBUZJ"><style id="0sWBUZJ"></style></q>

                  1. <abbr id="0sWBUZJ"><em id="0sWBUZJ"></em></abbr>